空间说说 EDG决赛前反向加油搞笑QQ空间说说内容文案 EDG已经夺冠,但是在EDG夺冠前有很多有意思的QQ空间说说内容文案分享给大家,EDG夺冠了,你们立的flag还兑现么?嘻嘻。不管你兑现不,给你QQ空间说说点赞先!1.“如果EDG夺冠,我倒立喝啤酒,如果EDG夺冠,... 自媒体优化 2021-11-07 阅读11006次
刷名片赞 新手在去刷赞之前需要做好这些准备工作 新手该如何选择QQ刷赞网?据统计数据显示,中国互联网行业正在稳步发展,也带来了很多新兴行业,比如QQ刷赞。作为一个专业的虚拟商品交易平台,近几年发展形势也是有利的,所以很多朋友都会加入这个行业,行业大多是从代理开始的... 自媒体优化 2021-05-11 阅读12706次
刷名片赞 QQ刷量网可以进行名片点赞操作是真的吗 QQ刷名片是真的吗?不同的软件在我们的手机上会有不同的用途,如果它对我们有很大的用处,我相信很多人会用不同的方法来维护,它们甚至可能用来做不同的事情,如果它能给我们带来很多的好处,那么我相信很多人会不惜一切代价想要拥... 自媒体优化 2021-05-11 阅读10703次
刷名片赞 有些人在QQ刷量网购买了名片赞刷量没看到效果是怎么回事 很多人在QQ上刷名片,点赞半天也没什么效果。原因何在?QQ刷赞半天没效果是怎么回事?已经有网友在该平台下单,那下单后可能等了一会,然后发现效果还没出来,这个时候不要太担心,要看你等了多长时间,如果你等的时间比较长,大... 自媒体优化 2021-05-11 阅读10031次
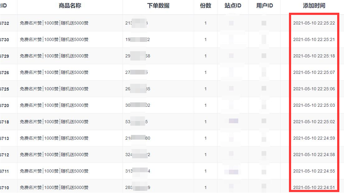
刷名片赞 免费领取1000名片赞活动,老朋友都回来了,这速度破产了 注意是每人每天免费领取1000名片赞,随机送5000名片赞,不需要登陆,也不需要什么互赞,更不需要扫码,只要打开网站 pay.52moon.cn 活动福利区,免费名片赞中填入你的QQ号,秒开始,有进度更新。今天活动开... 自媒体优化 2021-05-10 阅读15952次
空间说说 又是一年母亲节,最新空间说说送给母亲,名片赞福利 又是一年母亲节,最新空间说说送给母亲,文章最后我们还给大家预备了母亲节活动福利!1、母亲节只是五月中的一天,而母亲的爱却是年年岁岁爱你。2、星河浩瀚 宇宙烂漫 妈妈是这个世界上唯一一个和我分享过心跳的人3、美有很多种... 自媒体优化 2021-05-09 阅读8361次
刷名片赞 如何更快的增加手机QQ名片赞数量呢? 自从腾讯推出了手机QQ名片。名片上面的赞的数量就受到了一些人的追捧。觉得多就很有个性!!那怎么才能把手机QQ名片赞刷上去呢?有两种方法、一种是手动刷赞!!─种是用软件。这里就不说是什么软件啦。不然会打广告了!!o_o... 自媒体优化 2021-05-07 阅读9485次
刷名片赞 教你如何提高QQ名片赞数量,如何增加QQ赞数量 教你如何提高QQ名片赞数量如何增加QQ赞数量今天小编给大家带来提高QQ名片赞的方法,一共介绍四种方法小伙伴们可以选择自己喜欢的那种来使用,小编介绍的方法基本上都自己使用过,感兴趣的小伙伴可以来试—下!1.第一种方法也... 自媒体优化 2021-05-07 阅读10766次
视频号区 微信视频号免费开通流量套餐的技巧 微信有10亿多用户,更是指微信用户的忠诚度。视频号跟微信整个生态全部打通。如果再往深一点说,它做起来的话比抖音之类更容易变现。而且微信视频号具有更加明显的商业、营销性质,所以微信视频号越来越受到人们的欢迎,但是看视频... 自媒体优化 2021-04-27 阅读9725次
刷名片赞 在qq上刷赞的速度可以说是最快的了 qq刷赞的速率能够说成更快,在qq刷赞的道上越来越远,上月每日刷qq名片赞的总数能够做到1000万,如今速率一些慢了,每日大约限制是一百万上下。qq名片qq刷赞是腾讯官方发布来好长时间的互动交流新项目了,备受小伙伴们... 自媒体优化 2021-03-28 阅读11411次
刷名片赞 为何选择玩代刷乐qq刷赞网站 为上面要用代刷乐qq刷赞网站。有一种 即时通信软件 ,我们很熟悉叫qq ,它能为人们提供很 服务 。 除了提供即时通讯功能外,qq 还开发了很多其他应用 ,让人们在社交过程中享受到更多乐趣 。 QQ群能让你和朋友之间... 自媒体优化 2021-03-28 阅读7418次
刷名片赞 QQ空间说说赞网址,qq刷赞网站的第一个特点 玩酷qq刷赞网站有什么特点?如今是网络非常发达的时代,网络虽然很宽广,但在某些方面却表现出该网站实际上鱼龙混杂,有的网站不具备其所宣传的功能和效用,但却为了获取相关利益而去欺骗消费者,做一些虚假宣传。比如现在大家都希... 自媒体优化 2021-03-28 阅读7723次